微信扫一扫
周一至周日8:30-18:30
天河区创境汇盈科智谷4栋100~102(东圃地铁站B出口)
营销型网站
品牌型网站
外贸网站
电子商城
高端定制
手机网站
小程序
微商城
微官网
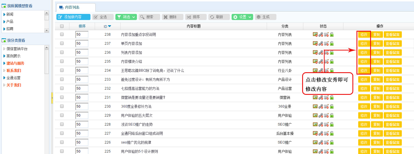
内容修改
1、列表内容修改方法:点击列表区的修改按钮,即可对内容进行修改;
2、单页内容修改方法:在内容列表窗口中,在左边的筛选区,点击橙色的分类名称,即可对单页内容进行修改。
推荐文章
一年免费维护期
7*24H服务时间
全方位维护渠道
2小时快修服务
5大免费服务
服务监督(常年支持)
周一至周日9:00-18:30
广州 深圳
Copyright © 2013-2019 全通网络 All Right Reserved 粤ICP备14047405号-2
百度口碑
100%好评
360安全认证
安全可信赖
公安机关
公网备案